产品
k8凯发电竞焊接/搬运专家
始于焊接,不止于焊接
始于焊接,不止于焊接
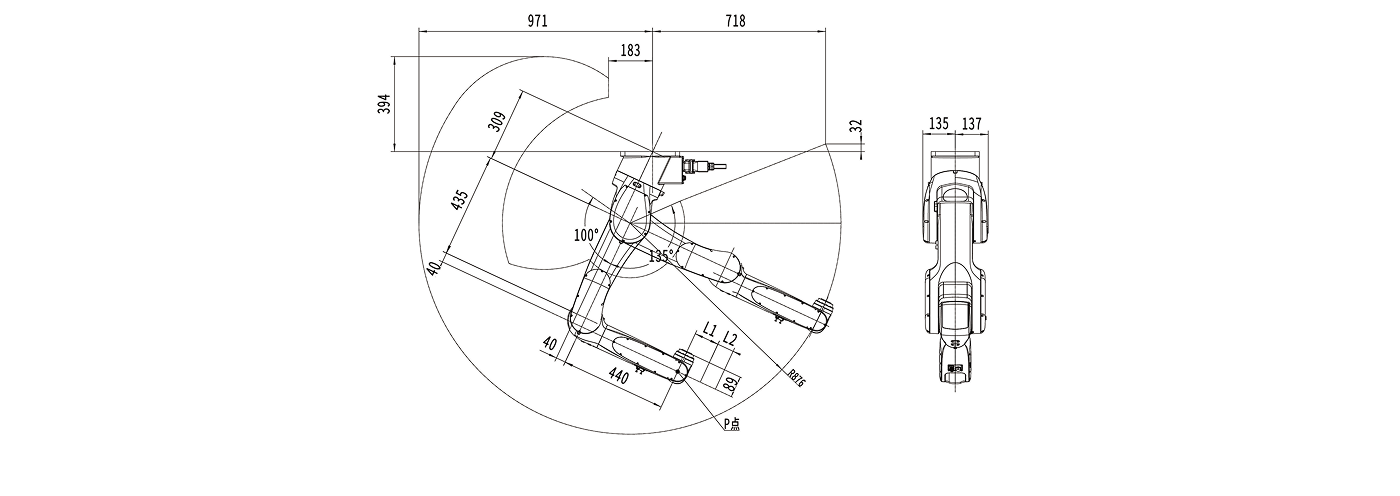
2轴采用直连结构,有效提高精度。
电机、减速机采用花键连接,更稳定。
采用定制化结构,有效避开干涉,满足狭小空间应用。
结构紧凑,体积小,重量轻,速度快。


